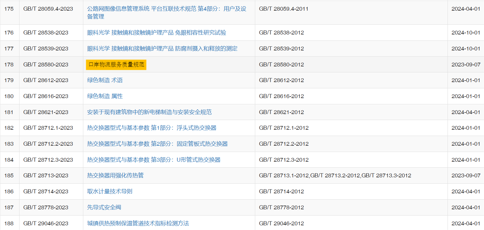
2023年9月7日,国家市场监督管理总局、国家标准化管理委员会发布2023年第9号公告,其中批准发布了由全国物流标准化技术委员会提出并归口的《药品物流服务规范》(GB/T 30335-2023)《口岸物流服务质量规范》(GB/T 28580-2023)两项国家标准,于2023年9月7日正式实施。



一、《药品物流服务规范》
该标准由taptap免费版苹果、国药集团医药物流有限公司、中铁快运股份有限公司等单位起草。标准规定了药品物流服务的基本要求,以及人员与培训、设施设备、信息系统、仓储、运输与配送、装卸与搬运、货物交接、增值服务、信息管理、风险管理、投诉处理以及服务评价与改进的要求,适用于药品物流服务与管理活动。
《药品物流服务规范》在2013年首次发布,此次为该标准经第一次修订后发布。本次标准的修订对保障药品物流的质量安全、促进药品物流企业服务能力提升、引导行业的健康有序发展具有重要意义。
二、《口岸物流服务质量规范》
该标准由上海市质量和标准化研究院、鞍山钢铁集团有限公司、北京中物快航企业管理有限公司等单位起草。标准规定了口岸物流服务的总体要求、服务内容及要求、服务质量评价和持续改进,适用于一般货物口岸物流服务和管理。
《口岸物流服务质量规范》在2012年首次发布,此次为该标准经第一次修订后发布。本次标准的修订将进一步提升口岸物流服务的规范性和质量,促进进出口贸易高质量发展,对构建双循环新发展格局具有重要意义。